Who We Are Image

What Is DG Synchronization with Solar?

DG synchronization with solar is a smart, automated energy management strategy where the diesel generator (DG) and solar power plant work together to meet total load demand efficiently. During solar hours, the system ensures the DG operates at minimum safe load while solar generation supplies the remaining energy. This setup prevents over-frequency issues, protects inverters from stress, and stabilizes plant operations even under fluctuating loads.
At Logics Power, our DG PV Controller ensures seamless solar DG synchronization, combining advanced algorithms, real-time monitoring, and intelligent load management to maximize solar utilization while minimizing fuel consumption.

Download Technical Datasheet
DG and Solar Synchronization
Benefits

Benefits of DG PV Controller & Solar-DG Synchronization

Implementing dg synchronization with solar using a DG PV Controller provides clear advantages for plant operators, facility managers, and asset owners. It ensures stable operations, maximizes solar utilization, and reduces dependency on diesel.

Optimized Load Distribution

Smartly distributes the total load between Solar and DG, ensuring the DG runs at the minimum safe load while solar covers the remaining demand.

Reduced Fuel Consumption

Lowers diesel usage by allowing solar power to supply the majority of the energy required, resulting in substantial fuel savings.

Zero Export Compliance

Prevents excess solar energy from feeding into the grid, ensuring compliance with regulatory and site-specific restrictions.

Enhanced System Reliability

Maintains stable plant operations by preventing reverse feeding, over-frequency issues, and inverter stress—ensuring longer equipment life and higher uptime.

Unique Features

Technological Advancements by Logics PowerAMR – DG PV Controller and Zero Export

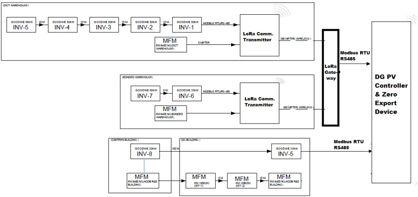
Wireless Connectivity

Wireless communication enables seamless DG–Solar synchronization without the need for long cable runs—ideal for large campuses, multi-building sites, and locations where wiring is difficult. With deep expertise in real-time Solar PV Monitoring for both rooftop and ground-mounted plants, PowerAMR delivers highly reliable wireless Remote Monitoring Systems that ensure optimal plant performance. Our platform provides continuous visibility, smart alerts, and accurate data to help operators maintain efficiency and reduce downtime.

DG PV Controller

Hardwired connectivity

When net metering is not available, solar power must be utilized strictly based on the onsite load. In such cases, synchronizing the solar system with the grid becomes essential. Through hardwired connectivity, the solar inverters take only reference voltage from the grid while ensuring that no excess power is exported. This enables safe operation, precise load matching, and full compliance with zero-export requirements.

DG PV Controller

Ethernet Connectivity

Ethernet-based communication enables fast, stable, and highly reliable DG–Solar synchronization, especially in multi-building sites where a strong intranet network is available. Using this technology, the diesel generator (DG) and solar plant operate seamlessly together to meet total load demand with maximum efficiency. The system ensures that the DG runs at its minimum safe load while solar power supplies the remaining energy, resulting in optimized performance and reduced fuel consumption.

DG PV Controller

MQTT Technology

MQTT-based communication is ideal for large or multi-building sites where traditional wiring or network connectivity is not feasible. Using lightweight, cloud-ready messaging, each DG–PV controller communicates seamlessly through SIM-based connectivity, ensuring real-time data transfer and reliable DG–Solar synchronization across long distances.

Weather Station
Unique Features

Technological Advancements by Logics PowerAMR

Logics PowerAMR delivers cutting-edge technology designed to enhance the reliability, safety, and efficiency of Solar–DG hybrid systems. Our advanced DG–PV Controllers, Zero Export solutions, and multi-mode connectivity options ensure seamless operation across complex sites. With intelligent algorithms, robust communication architecture, and real-time monitoring capabilities, we provide end-to-end control that maximizes solar utilization, minimizes fuel consumption, and protects every component of your plant.

Our Working Principles

We follow a systematic, intelligent control process to ensure smooth DG–Solar synchronization, optimized inverter output, and stable plant operations.

1

Read Active Power

The controller continuously measures the Active Power drawn from the DG through the installed energy meter to understand the current load conditions.

2

Compare with Maximum Set Point

If the measured Active Power exceeds the defined Maximum Set Point, the controller automatically increases the inverter power to share the load and reduce strain on the DG.

3

Compare with Minimum Set Point

If the Active Power falls below the Minimum Set Point, the controller reduces inverter generation to ensure the DG does not get underloaded and remains within its safe operating range.

4

Continuous Real-Time Adjustment

This cycle repeats continuously, allowing the system to dynamically balance the load between Solar and DG. The result is optimized fuel consumption, stable DG performance, and maximized solar utilization.

Frequently Asked Questions

Find answers to the most common queries below

Solar DG Synchronization is a smart control system that allows solar power and diesel generators (DGs) to operate together efficiently. It ensures safe load sharing, prevents reverse power flow, and keeps the DG running within its optimal load range.

Without synchronization, the DG may become underloaded or unstable when solar power is high. Synchronization ensures balanced load distribution, protects equipment, reduces fuel consumption, and maintains smooth plant operation.

Yes. By ensuring the DG runs at only the minimum required load while solar supplies the remaining power, the system significantly lowers fuel usage and improves overall energy efficiency.

The DG–PV Controller continually monitors DG active power and dynamically adjusts solar inverter output. If DG loading drops too low, solar generation is throttled to prevent reverse feeding and protect the generator.

Absolutely. The system works in real time, automatically adjusting inverter output based on load fluctuations, DG conditions, and defined set points—requiring no manual intervention.

Yes. The solution supports all major inverter brands using RS485, Ethernet, LoRa, Wireless, or MQTT communication depending on site conditions.

Yes. DG synchronization is especially useful in zero-export conditions, ensuring solar energy is used only for onsite load without feeding power back into the grid.

DG synchronization with solar is a hybrid energy management process where solar power and diesel generators work together.

It is widely used in industrial plants, commercial buildings, universities, off-grid sites, multi-building campuses, and areas with unreliable or restricted grid supply.